北京市凌鷹起重機械廠
地址:北京市昌平區東小口
二十四小時手機:18611422091(同微信)
傳真: 010-58043523
抖音:lyqz18611422091
掃一掃加微信好友




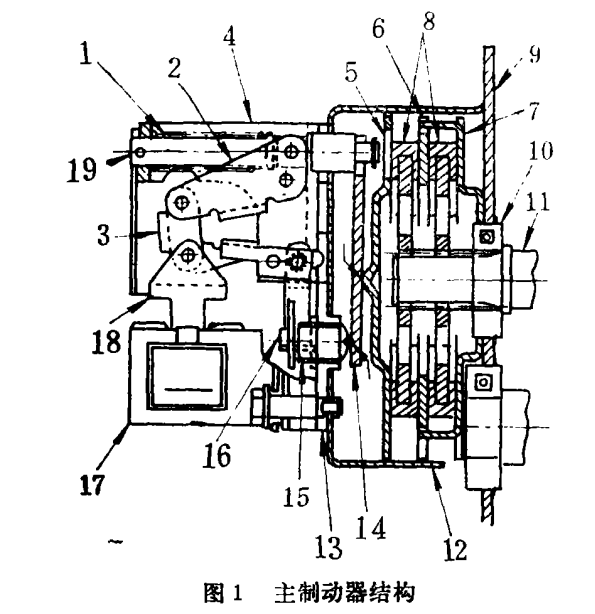
高速型環鏈電動葫蘆一般采用雙重制動方式,既具有自動調整的主制動器和裝在電動機內的輔助制動器。一般更可以適應高度、頻繁的作業。
主制動器是電源切斷時動作的制動方式。當與電動機同時給電磁鐵通電時,可動鐵心被吸引,制動面松開。制動時斷電,依靠彈簧力推壓制動輪產生制動力。由于制動器隨著制動次數和吸收能量而磨損,制動力逐漸減小,滑移增加,電磁鐵行程增加,因此需要我定期調整。而這種制動器能自動進行調整,即制動輪的磨損所造成的電磁鐵的增加,可由調整杠桿跟蹤。如果行程過大,可使調整螺釘回轉,恢復到原來的正常狀態。萬一至制動器失效時,輔助制動器不會使載荷加速落下,而以等速下降。這是應用了一種離心式制動器,是在沒有異常下架就不動作的小型、省能式的安全制動器。

備注:1為壓力彈簧,2、3為連桿A、B,4為彈簧壓板,5/6/7為制動盤A/B/C,8為制動輪,9為機架,10為軸承,11為一級軸齒輪,12,13為制動電磁鐵支架A、B,14為制動器杠桿,15為調整螺釘,16為調整杠桿,17為固定鐵心,18為可動鐵心,19為制動桿。
上一條:保定市清苑縣手拉葫蘆蓬勃發展
下一條:鋼絲繩吊索具如何滿足大噸位吊裝需求