北京市凌鷹起重機械廠
地址:北京市昌平區東小口
二十四小時手機:18611422091(同微信)
傳真: 010-58043523
抖音:lyqz18611422091
掃一掃加微信好友




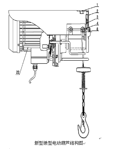
微型電動葫蘆具有外形美觀、使用方便、噪音小等特點,被廣泛應用于電子、汽車、造船等場所。現存鋼絲繩電動葫蘆極易產生纏繞亂層,而且當鋼絲繩損壞后調換鋼絲繩需要拆卸很多部件。為了防止這種情況的出現,增加微型電動葫蘆的使用壽命,北京凌鷹做了相對的技術改變,研發出新型的微型電動葫蘆。
這種微型電動葫蘆包括電機、繩筒、鋼絲繩、罩殼組件,繩筒的兩側固定有左右端板,罩殼組件由罩殼與罩殼端板焊接而成,繩筒的轉軸一端與電機輸出軸連接,另一端可轉動地設置在罩殼端板上,電機與罩殼固定連接;右端板上設有鋼絲繩穿孔槽,鋼絲繩從鋼絲繩穿孔槽引入繩筒并圈繞在繩筒上,鋼絲繩的末端固定在右端板的鋼絲繩固定裝置上,鋼絲繩的頭部連接吊鉤組件,罩殼端板上設有與鋼絲繩穿孔槽和鋼絲繩固定裝置相對應的牽繩孔。繩筒繞線直徑加大,在鋼絲繩長度不變的前提下使鋼絲繩層數減少,起到減輕鋼絲繩相互之間擠壓力的作用,同時可加快吊重速度。
鋼絲繩固定裝置包括固定在右端板上的鋼絲繩固定卡扣、鋼絲卡塊,鋼絲卡塊為大小頭榫狀結構,鋼絲繩的末端繞過鋼絲卡塊并通過鋼絲卡塊的大頭卡緊在鋼絲繩固定卡扣的卡槽內。
罩殼上固定有排線器組件,該組件包括防松滾子、滾子軸、調節座、壓力調節活動套、壓簧、壓力調節固定套,滾子通過滾子軸可轉動的設置左右調節座上,左右調節座與對應的左右壓力調節活動套固定連接,左右壓力調節活動套對應套設在左右壓力調節固定套上,左右壓力調節固定套對應固定在罩殼上,壓簧設置在壓力調節活動套與壓力調節固定套之間,防松滾子緊壓在繩筒的鋼絲繩上。
新型微型電動葫蘆與現有微型電動葫蘆相比的優點一是繩筒繞線直徑加大后,在鋼絲繩長度不變的前提下使鋼絲繩層數減少,起到減輕鋼絲繩相互之間擠壓力的作用,同時可加快吊重速度。二是鋼絲繩損壞后拆裝調換更加簡單、方便和實用。三是增加排線器組件后保證鋼絲繩在每層都能排列有序、緊湊,避免了不規則的擠壓損傷,從而提高鋼絲繩的使用壽命。
備注:下圖為新型的微型電動葫蘆,其中1罩殼,2罩殼端板,3右端板,4排線器組件,8轉軸,22電機。

?
?
?
?
?
?
上一條:有適合高空作業的手扳葫蘆嗎?
下一條:靜音技術——手動液壓搬運車